KTA-25 of load-lifting capacity 25t
with three boom sections
hook lifting height 21,5/30,0 m
outreach 2,4-18,4 m
on mobile chassis:
MAZ (630303, 6303A3, 630305, 630333)
KrAZ (63221-044, 65053)
KamAZ (65115, 55111, 53229)
FORD Cargo (3430D, 3530D)
|
|
KTA-25 |
|
Load - lifting capacity, max, t |
25,0 |
|
Outreach (max. load-lifting capacity), m |
3,2 |
|
Outreach, m |
2,40-18,40 |
|
Max. loading moment, kNm |
800(80) |
|
Hook lifting height / with extension, m |
21,50-30,00 |
|
Max. depth of hook dropping whith 9t, m |
13,00 |
|
Length of boom / with extension, m |
9,7-21,7/30,7 |
|
Quantity of boom sections |
3 |
|
Slewing angle of crane / working area, ° |
360/240 |
|
|
|
|
Lifting-dropping speed: |
- max . load , m/min |
6,0 |
|
- load to 4 t, m/min |
12,0 |
|
Lowering speed, m/min |
0,4 |
|
Turn quantity per minute |
1,0 |
|
Duration of outreach changing , s |
45,0 |
|
Telescope moving speed, m/min |
7,3 |
|
|
|
|
Crane overall dimensions: |
- length, m |
12,0 |
|
- width, m |
2,5 |
|
- height, m |
4,0 |
|
Crane geometrical parameters : |
|
|
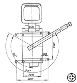
- outriggers base, m |
3,85 |
|
- distance between outriggers, m |
4,8 |
|
- turning radius in moving position, m |
12,0 |
|
Mass of crane installation, kg |
14.300 |
|
|
|
Main dimensions MAZ:  |